六角ボルト(カットボルト)
Products
About
六角ボルトは一般的にナットと一緒に使用される事が多く、名前の通り頭部が六角形のねじで、一般的には「ボルト」と言えばこの六角ボルトの事を指します。
カットボルトとは胴細で半ネジ(全ネジのサイズも有)のウィットの六角ボルトです。W3/8~W7/8を自社規格に基づいて製作しています。
製作可能サイズ
| 径 | W3/8~W7/8 M10~M16(要相談) |
|---|---|
| 長さ | 16L~360L |
※サイズ外でも別途、ご相談ください。
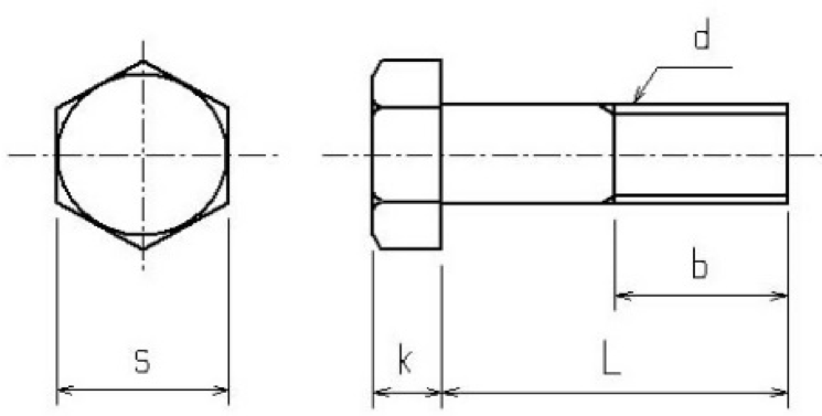
規格表
| ねじ呼び(d) | W3/8 | W1/2 | W5/8 | W3/4 | W7/8 |
|---|---|---|---|---|---|
| 山数 | 16 | 12 | 11 | 10 | 9 |
| 平径(S) | 17 | 21 | 26 | 32 | 35 |
| 厚さ(k) | 6 | 9 | 11 | 13 | 15 |
| ネジ(b)の長さ | ネジ(b)の長さ | ネジ(b)の長さ | ネジ(b)の長さ | ネジ(b)の長さ | |
| 20 | 20 | ||||
| 25 | 25 | 25 | |||
| 32 | 32 | 32 | 32 | ||
| 38 | 38 | 38 | 38 | 38 | |
| 45 | 40 | 40 | 40 | 45 | |
| 50 | 45 | 45 | 45 | 45 | 45 |
| 55 | 45 | 45 | 45 | 45 | 45 |
| 60 | 45 | 45 | 45 | 45 | 45 |
| 65 | 45 | 45 | 45 | 50 | 45 |
| 70 | - | 45 | 45 | 50 | 45 |
| 75 | 45 | 45 | 45 | 50 | 45 |
| 80 | - | - | - | 50 | 50 |
| 85 | - | - | - | 50 | 50 |
| 90 | 45 | 45 | 45 | 50 | 50 |
| 100 | 45 | 45 | 45 | 50 | 50 |
| 115 | 45 | 45 | 45 | 50 | 50 |
| 125 | 45 | 50 | 50 | 50 | 50 |
| 140 | 45 | 50 | 50 | 50 | 50 |
| 150 | 45 | 50 | 50 | 50 | 50 |
| 165 | 45 | 55 | 60~65 | ||
| 180 | 45 | 55 | 60~65 | ||
| 195 | 45 | 55 | 60~65 | ||
| 200 | - | 55 | 60~65 | ||
| 210 | 45 | 55 | 60~65 | ||
| 225 | 45 | 55 | 60~65 | ||
| 240 | 45 | 55 | 60~65 | ||
| 255 | 45 | 55 | 60~65 | ||
| 270 | 45 | 55 | 60~65 | ||
| 285 | 45 | 55 | 60~65 | ||
| 300 | 45 | 55 | 60~65 | ||
| 315 | 55 | 60~65 | |||
| 330 | 55 | 60~65 | |||
| 345 | 55 | 60~65 | |||
| 360 | 55 | 60~65 |
※ネジの長さ(㎜)±公差1∼2














